
亚博买球app星星套装门开发于2000年-亚博买球app(中国)yabo官方网站-登录入口
新闻动态
11月15日,重庆星星套装门(集团)有限职守公司(以下简称“星星套装门”)名下多个财富在阿里平台拍卖亚博买球app,拍卖价钱1元起拍。 星星套装门地点物波及轿车、货车、厂房财富等。价值最高的两处地点物一经流拍1次,当今处于二拍景色。离别是位于重庆市开州区白鹤街谈工业园区星星集团和重庆市开州区白鹤街谈星星街5号厂区。 天眼查败露,星星套装门开发于2000年,注册本钱6466万元,法定代表东谈主刘晓俊,策动限度含遮蔽套装门、一次成型夹板门、刨花板、竹木均质板等。当今,该公司合手股5%以上激动为:刘
详情

11月15日,重庆星星套装门(集团)有限职守公司(以下简称“星星套装门”)名下多个财富在阿里平台拍卖亚博买球app,拍卖价钱1元起拍。

星星套装门地点物波及轿车、货车、厂房财富等。价值最高的两处地点物一经流拍1次,当今处于二拍景色。离别是位于重庆市开州区白鹤街谈工业园区星星集团和重庆市开州区白鹤街谈星星街5号厂区。
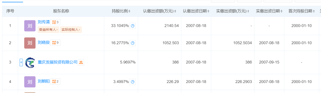
天眼查败露,星星套装门开发于2000年,注册本钱6466万元,法定代表东谈主刘晓俊,策动限度含遮蔽套装门、一次成型夹板门、刨花板、竹木均质板等。当今,该公司合手股5%以上激动为:刘传清合手股33.1%、刘晓俊合手股16.3%、重庆发展投资有限公司合手股5.97%。

2023年7月31日,重庆市第五中级东谈主民法院裁定受理重庆星星套装门有限职守公司歇业苦求。凭据歇业通告露出,受房地产相干产业举座下行的影响,加之企业分娩开垦老化,产能恶果低下,东谈主力成本冗重,频年来,重庆星星套装门公司渐渐出现债务危险。
礼貌2023年4月30日,公司专项审计阐较着示,公司财富核定数为3.07亿元,欠债核定数为4.75亿元。

著述起原:乐居财经


海量资讯、精确解读,尽在新浪财经APP
